来源:五道口江湖
2025年5月刘彦雷加入公司,接替原董事长夏彬,8月份宣学柱接任总经理,11月北信瑞丰变更为华银公司,然后首席信息官和督查官变更。曾经北信瑞丰人数过百,去年一系列操作之后,基金从业系统今年显示的人数一度最少到了不足40人。不过从11月份开始,北信瑞丰人数明显增加不少。统计了下12月份北信瑞丰新增人员,截止18日,至少11人加入北信瑞丰:

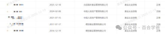
1、12月18日,基金从业系统显示,宋某已加入北信瑞丰基金,前中国人保资产员工

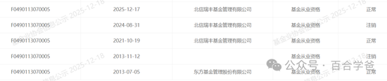
2、基金从业系统显示,12月17日,老将孙岩已回归北信瑞丰基金

3、基金从业系统显示,12月16日,老将祁菁已回归北信瑞丰基金

4、基金从业系统显示,12月12日,大有恒晟私募李继民已回归北信瑞丰基金

5、基金从业系统显示,12月11日,中加基金刘冲加入北信瑞丰基金
6、12月3日-16日入职的新人6人:

12月,基金从业系统显示,王某、吴某科、贺某胜、高某国、朱某日、畅某秀,已入职北信瑞丰基金



发表评论
2025-12-21 20:56:28回复